• menu icon
cens logo
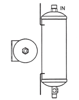
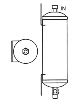
乾燥儲液器/鐵

乾燥儲液器/鐵

產品型號:
C7641-3
原產地:
台灣

詳細規格及用途描述

Dia:1/2" MO
OUT:1/2" MO
IN : 76mm
OUT:405mm

相關產品
公司名稱: 鎰鵬企業有限公司
聯絡人: 黃信雄

發送詢問函給廠商