• menu icon
cens logo
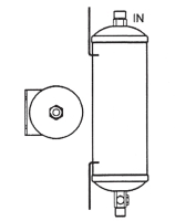
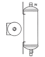
乾燥儲液器/鐵

乾燥儲液器/鐵

產品型號:
H454MO
原產地:
台灣

詳細規格及用途描述

IN :#10 FOR
OUT:7/8"-14UNF MO
Dia: 45mm
Len:120mm

相關產品
公司名稱: 鎰鵬企業有限公司
聯絡人: 黃信雄

發送詢問函給廠商