×

刹车来令片

刹车来令片

型号:
4 SERIES-ISUZU


产地(所在国):
台湾

产品描述


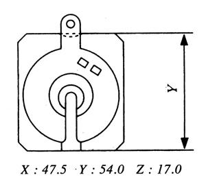
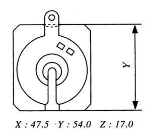
TBT NO. MS4404 (Parking)
FMSI / TBT / REMSA - / MS4404 / -
适用车种 ISUZU
规格 R:89.0mm,C:35.0mm