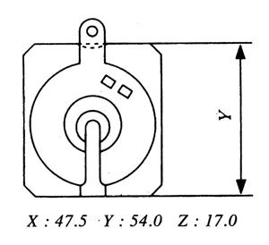
× 刹车来令片 刹车来令片 型号:7 SERIES-SUBARU 加入询问清单 产地(所在国):台湾 产品描述 TBT NO. MS7701 FMSI / TBT / REMSA - / MS7701 / - Description SUBARU Specification R:90.0mm,C:35.0mm
产品描述 TBT NO. MS7701 FMSI / TBT / REMSA - / MS7701 / - Description SUBARU Specification R:90.0mm,C:35.0mm