×

刹车来令片

刹车来令片

型号:
4 SERIES-ISUZU


产地(所在国):
台湾

产品描述


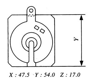
TBT NO. MS4413 (Parking)
FMSI / TBT / REMSA - / MS4413 / -
适用车种 ISUZU
规格 R:152.4mm,C:75.0mm