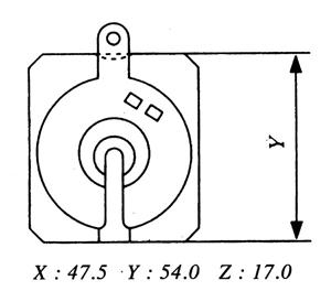
× 剎車來令片 剎車來令片 型號:3 SERIES - MAZDA 加入詢問清單 產地(所在國):台灣 產品描述 TBT NO. MD3001 FMSI / TBT / REMSA - / MD3001 / - Description MAZDA Specification X:52.0mm Y:51.0mm Z:14.5mm
產品描述 TBT NO. MD3001 FMSI / TBT / REMSA - / MD3001 / - Description MAZDA Specification X:52.0mm Y:51.0mm Z:14.5mm