×

剎車來令片

剎車來令片

型號:
4 SERIES-ISUZU


產地(所在國):
台灣

產品描述


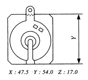
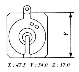
TBT NO. MS4404 (Parking)
FMSI / TBT / REMSA - / MS4404 / -
適用車種 ISUZU
規格 R:89.0mm,C:35.0mm