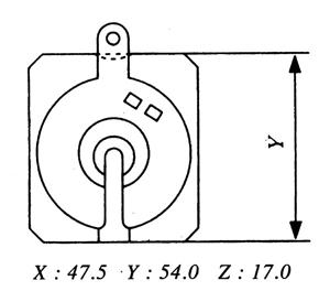
× 剎車來令片 剎車來令片 型號:6 SERIES-MITSUBISHI 加入詢問清單 產地(所在國):台灣 產品描述 TBT NO. MS6612 FMSI / TBT / REMSA - / MS6612 / - Description MITSUBISHI Specification R:90.0mm,C:35.0mm
產品描述 TBT NO. MS6612 FMSI / TBT / REMSA - / MS6612 / - Description MITSUBISHI Specification R:90.0mm,C:35.0mm