• menu icon
cens logo
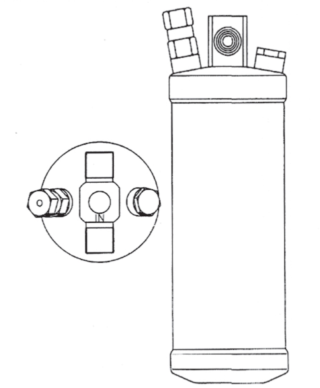
乾燥儲液器/鐵

乾燥儲液器/鐵

產品型號:
YP-4324S
原產地:
台灣

詳細規格及用途描述

IN :3/8" MO
OUT:3/8" MO
Dia:63mm
Len:203mm

相關產品
公司名稱: 鎰鵬企業有限公司
聯絡人: 黃信雄

發送詢問函給廠商