• menu icon
cens logo
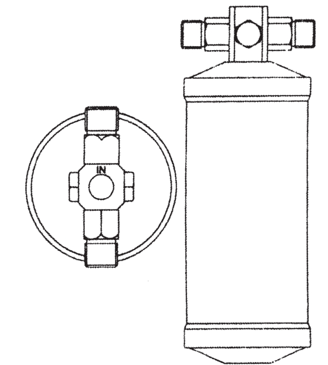
乾燥儲液器/鐵

乾燥儲液器/鐵

產品型號:
YP-4354
原產地:
台灣

詳細規格及用途描述

IN :M16 MO
OUT:M16 MO
Dia:70mm
Len:201.5mm
MITSUBISHI

相關產品
公司名稱: 鎰鵬企業有限公司
聯絡人: 黃信雄

發送詢問函給廠商