• menu icon
cens logo
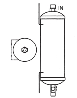
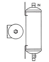
乾燥儲液器/鐵

乾燥儲液器/鐵

產品型號:
YP-9008
原產地:
台灣

詳細規格及用途描述

IN :MSL
OUT:FSL
M12 Port X 1Height
Dia:89mm
Len:215mm

相關產品
公司名稱: 鎰鵬企業有限公司
聯絡人: 黃信雄

發送詢問函給廠商