• menu icon
cens logo
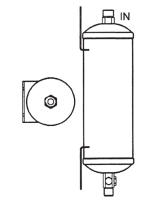
乾燥儲液器/鐵

乾燥儲液器/鐵

產品型號:
YP-9055
原產地:
台灣

詳細規格及用途描述

IN :7/8"-14UNF
OUT:FSL
M12 Port X 1
R134a Port X 1
Dia:89mm
Len:343mm

相關產品
公司名稱: 鎰鵬企業有限公司
聯絡人: 黃信雄

發送詢問函給廠商